
Ningyi Lyu, Victor S. Batista
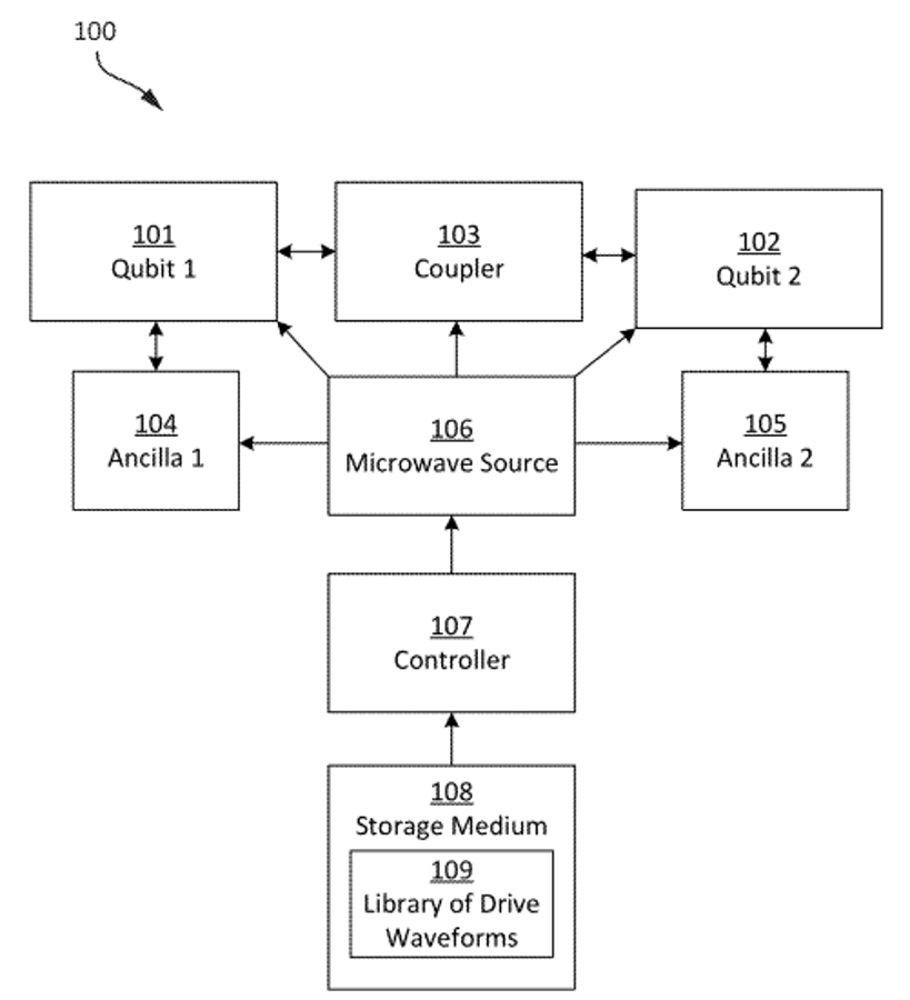
Systems and methods for implementing holographic quantum circuits on compact quantum computing systems are provided. Compact quantum computing systems include systems having fewer physical qubits than the number of quantum modes to be instantiated during execution of the quantum circuit. Techniques described herein may be used to perform boson sampling techniques, including with application to molecular docking simulations.