
Ke Yang, Victor S. Batista, Wan Jae Dong, Yixin Xiao, Zetian Mi
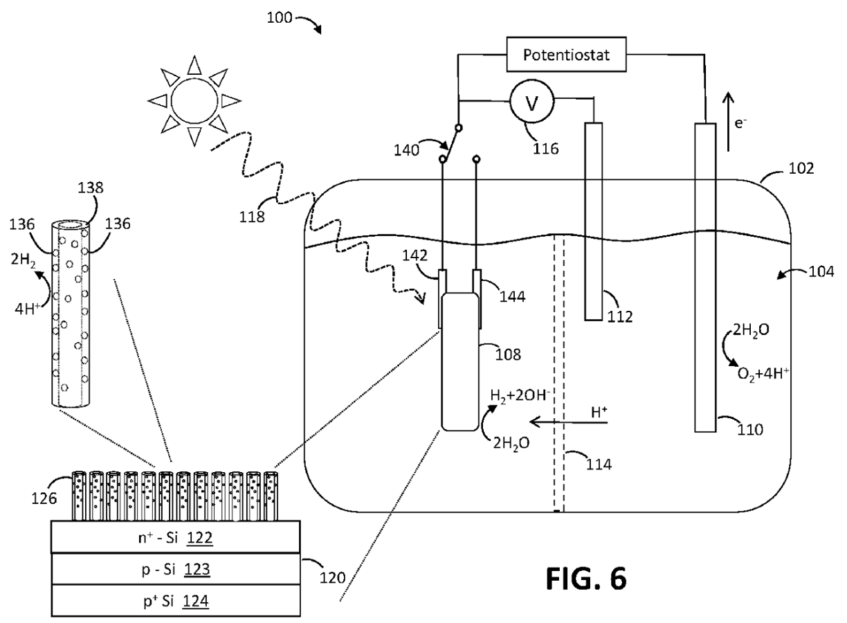
A method of hydrogen production includes providing a solution and immersing a device in the solution. The device includes a substrate having a surface, an array of conductive projections supported by the substrate and extending outward from the surface of the substrate, and a plurality of catalyst nanoparticles disposed over the array of conductive projections. The solution includes dissolved sodium chloride (NaCl).